Samsung Galaxy Z Flip5 là chiếc điện thoại kế nhiệm của Galaxy Z Flip4. Vậy hai thiết bị này có gì khác biệt? Mời bạn cùng chúng tôi so sánh Samsung Galaxy Z Flip5 và Galaxy Z Flip4 dựa trên các thông tin rò rỉ để cùng tìm ra câu trả lời nhé.

So sánh thiết kế

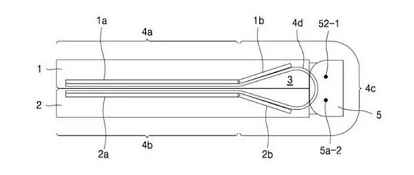
Hiện nay có nhiều nguồn tin rò rỉ cho thấy Samsung sẽ sử dụng bản lề dạng giọt nước mới cho Galaxy Z Flip5 để khắc phục một trong những vấn đề lớn nhất với màn hình gập lại của hãng đó chính là nếp nhăn.

Theo đó, ý tưởng của thiết kế này là màn hình có thể cuộn vào bên trong thân máy Galaxy Z Flip5. Điều đó chứng tỏ điện thoại sẽ không phải gấp phẳng hoàn toàn, đồng thời không tạo thành nếp gấp. Bên cạnh đó, việc sử dụng bản lề dạng giọt nước còn giúp cho hai nửa của màn hình Galaxy Z Flip5 không xuất hiện khe hở khi gập lại, nhờ vậy mà độ bền của máy được gia tăng.
So sánh Samsung Galaxy Z Flip5 và Galaxy Z Flip4: Chip và hiệu năng
Galaxy Z Flip4 được nhà sản xuất trang bị vi xử lý Snapdragon 8 Plus Gen 1 thường xuất hiện trên các flagship Android. Tuy nhiên, vẫn không thể so sánh được với vi xử lý Snapdragon 8 Gen 2 for Galaxy nhiều khả năng sẽ được tích hợp trên Galaxy Z Flip5.

Trong các bài kiểm tra thực tế cho thấy Snapdragon 8 Gen 2 for Galaxy đánh bại hoàn toàn Snapdragon 8 Gen 1 ở bài kiểm tra CPU đơn và đa lõi. Thậm chí nó còn thắng cả Apple A16 Bionic của iPhone 14 Pro Max trong bài kiểm tra về đồ họa.

Ngoài ra, model mới của Samsung được đồn đoán là đi kèm với bộ nhớ trong UFS 4.0, tốc độ đọc và ghi nhanh hơn rất nhiều so với UFS 3.1 của Z Flip4.
Galaxy Z Flip5 sẽ có màn hình phụ lớn hơn

So sánh Samsung Galaxy Z Flip5 và Galaxy Z Flip4 cho thấy rất có thể màn hình phụ của Z Flip5 rộng 3.4 inch, lớn hơn khá nhiều so với 1.9 inch trên Z Flip4. Những hình ảnh rò rỉ cho thấy màn hình phụ của Z Flip5 có thiết kế dạng thư mục vô cùng độc đáo, hứa hẹn sẽ mang lại những trải nghiệm tốt hơn cho người dùng.

Thời lượng pin
Những đánh giá từ người dùng cho thấy Galaxy Z Flip4 được trang bị thời lượng pin tốt, đáp ứng được nhu cầu một ngày dài sử dụng của người dùng. Chính vì vậy mà rất có khả năng Samsung tiếp tục cải tiến về dung lượng pin trên Z Flip5.

Nguồn tin tốt là có thể Z Flip5 sẽ có thời lượng pin tốt hơn Z Flip4 dù dung lượng pin không được nâng cấp. Đó là bởi model mới sử dụng chipset Snapdragon 8 Gen 2 for Galaxy mang lại khả năng tiết kiệm năng lượng hơn. Ngoài ra, bộ nhớ trong UFS 4.0 có khả năng tiết kiệm năng lượng hơn 46% so với UFS 3.1 trên Z Flip4.
Kết luận

Qua bài so sánh Samsung Galaxy Z Flip5 và Galaxy Z Flip4 chúng ta có thể nhận thấy Galaxy Z Flip5 là một bản nâng cấp rất đáng giá của Galaxy Z Flip4. Không những sở hữu màn hình phụ lớn mà còn có hiệu năng và thời lượng pin tốt hơn.
BÀI VIẾT LIÊN QUAN
Email của bạn sẽ không được hiển thị công khai. Các trường bắt buộc được đánh dấu *
Tạo bình luận mới